Home » ONLINE KART PARTS SALES » Engine Parts » RL LEOPARD » RL 125 REEDS AND MANIFOLD

| GASKET CARBURETOR MANIFOLD CARBURETOR MOUNT GASKET UNIVERSAL [27.8MM I.D 46MM X 6.7MM HOLE SPACING] $2.75 | |
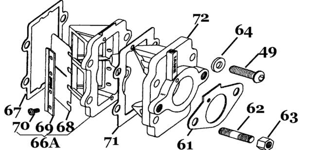
| GASKET CARBURETOR MANIFOLD 28MM ID [28.9MM I.D 46MM X 6.7MM HOLE SPACING] $3.70 | |
| GASKET CARBURETOR MANIFOLD 29MM ID GENUINE IAME 29MM CARBURETTOR GASKET TO SUIT 2018 X30 UPDATE [29.6MM I.D 46MM HOLE SPACING] $6.38 | |
| INNER GASKET REED BLOCK SMALL REED BLOCK SUITS RL LEOPARD , EARLY SMALL REED BLOCK ENGINES , DAP , PARILLA , ROTAX , TKM , PCR AND PRD FIREBALL STANDARD REED BLOCK INNER REED BLOCK GASKET 69.8MM INSIDE LENGTH X 35.5MM WIDTH X .5MM THICK $4.40 | |
| MANIFOLD CARBURETTOR TO REED BLOCK RL LEOPARD NEW INTAKE MANIFOLD RL LEOPARD ALSO SUITS MANY OTHER REED ENGINES TO SUIT SMALL REED BLOCKS $111.54 | |
| No 18/62 STUD 6MM X 34MM STUD 6MM X 34MM TOTAL LENGTH [CARBURETOR MOUNTING] [RL LEOPARD EXHAUST] $6.60 | |
| OUTER GASKET SMALL REED BLOCK SUITS RL LEOPARD , EARLY SMALL REED BLOCK ENGINES , DAP , PARILLA , ROTAX , TKM , PCR AND PRD FIREBALL STANDARD REED BLOCK 65MM INSIDE LENGTH X 27MM WIDTH X .8MM THICK $4.40 | |
| REED BLOCK ASSEMBLY 66.7mm IAME REED BLOCK ASSEMBLY TO SUIT EARLY 80'S TILL MID 90'S REED VALVE ENGINES ALSO IAME RL ENGINE REEDS 66.7mm X 37.6mm $175.52 | |
| SCREW REED BLOCK GENUINE IAME REED BLOCK/REED SCREW FITS MOST REED BLOCKS $2.87 | |
| STUD 6MM X 25MM GENUINE IAME EARLY KA CARBURETOR MOUNT STUD ALSO CAN BE USED AS A EXHAUST HEADER STUD 6MM X 25MM $6.60 |